+90 216 447 17 00
+90 554 166 17 00
Tekne Malzemeleri
Giriş Yap
Üye Ol
Sepetim
Tekne Malzemeleri
Evye & Ocak
Koltuk & Aksesuarları
Masa & Sandalye
Kabin
Güvenlik
Balıkçılık
Baş Pervanesi
Buz Dolabı
Genel
Giyim
Havalandırma
Hediyelik
Isıtıcı
Kilit
Römork
Şişme Bot
Su sporu
Su Yapıcı
Tekstil
Yelken
Elektrik
İç Aydınlatma
Dış Aydınlatma
Akü Şalteri ve Aksesuarları
Seyir Fenerleri
Silecek
Sigorta/Panel ve Switch Aksesuarları
Korna
Kablo
Fiş & Priz
Jeneratör
Klima Aksesuarları
Kontak Anaharı & Röleler
Sahil Besleme Ekipmanı
Şarj Ekipmanları
Elektronik
Anten
Balık Bulucu
Derinlik Göstergesi
Dynaplate
Göstergeler
Harita
Marin Müzik Sistemleri
Marin Telsiz
Radar / Chartplotter
Yakıt Su Şamandıraları
Boya Bakım
Astar-Macun
Awlgrip Boya Sistemleri
Bantlar ve Maskeleme
Boyalar
Fırça & Rulo
İş Güvenliği
Pasta & Cilalar
Temizlik & Bakım Kimyasalları
Yapıştırıcı & Sızdırmazlıklar
Zehirli Boya
Zımparalar
Güverte
Bayrak & Bayrak Direği
Dolum Ağzı
Halat
Hatch & Lumboz
Kakıç
Koç boynuzu & Kurt Ağzı
Kulplar & Tutamak
Kürek Iskarmoz
Lift Amortisör
Makaralar
Menteşe
Merdiven
Paserella
Paslanmaz Malzemeler
Plastik Kapak Dolap
Tente Döşeme Malzemesi
Vardavela Parçaları
Vida & Civatalar
Tesisat Hırdavat
Sintine Pompa ve Ekipmanları
Hidrofor
Maceratör
Duş Boşaltma
Filtreler
Fittings Malzemeleri
Hortumlar
Musluk
Tahliye Borusu / Firar / Miçöz
Tanklar
Tuvalet/Pis Su
Yağ ve Yakıt Pompaları
Motor Aksamı
Buji
Dıştan Takma Motor & Aksesuarları
Egzoz Sistemi
Flap & Trim
Impeller
Motor Takozu
Motor Tesisatı
Pervane
Şaft Sisemi
Tutya
Waterlock
Yağ & Aksesuarları
Dümen Kumanda
Direksiyon Simidi
Gaz-Vites Kumanda Teli & Aksesuarları
Hidrolik Dümen Sistemi
Kumanda Kolu
Demirleme Rıhtım
Baş Makarası
Çıpa
Halat
Halat Esnetici
Irgat
Irgat Ekipmanları
Tonoz & Şamandıralar
Usturmaça & Ekipmanları
Zincir & Ekipmanları
2. El Ürünler
İmalatlarımız
Hoş Geldiniz
Hızlı ve güvenli alışverişe giriş yapın!
Beni Hatırla
Şifremi Unuttum
Giriş Yap
Henüz Üye Değil Misiniz?
Kolayca üye olabilirsiniz!
Hemen Üye Ol
Facebook ile Bağlan
Google ile Bağlan
Anasayfa
Güverte
Hatch & Lumboz
FİLTRELE
SIRALA
Stoktakiler
Toplam 148 ürün
Önerilen sıralama
En düşük fiyat
En yüksek fiyat
Çok değerlendirilenler
Yüksek puanlılar
İndirim oranı
Yeni eklenenler
Markalar
OCEANAIR
MANSHİP
NUOVA RADE
TREM
SEAWORLD
QUATTRO MARINE
MANSHİP
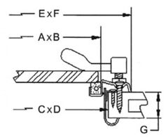
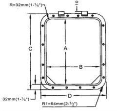
Yuvarlak ekonomik lumboz 127mm
13.965,09 TL
SEPETE EKLE
MANSHİP
Oval ekonomik lumboz 203x457mm
23.311,09 TL
SEPETE EKLE
MANSHİP
Oval ekonomik lumboz 178x356mm
21.507,10 TL
SEPETE EKLE
MANSHİP
Oval fırtına kapaklı lumboz 178x406mm
48.859,62 TL
SEPETE EKLE
MANSHİP
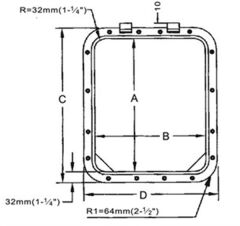
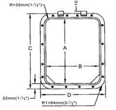
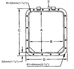
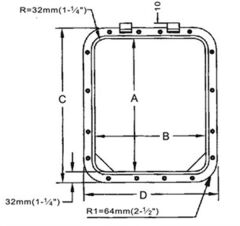
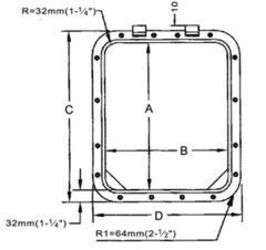
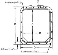
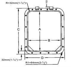
Düşük profilli hatch tek açılım 495x495
46.225,53 TL
SEPETE EKLE
MANSHİP
Düşük profilli hatch tek açılım 419x419
37.204,29 TL
SEPETE EKLE
MANSHİP
Düşük profilli hatch tek açılım 369x495
38.683,51 TL
SEPETE EKLE
MANSHİP
Düşük profilli hatch tek açılım 318x444
35.544,07 TL
SEPETE EKLE
MANSHİP
Düşük profilli hatch tek açılım 254x254
27.028,18 TL
SEPETE EKLE
MANSHİP
Düşük profilli hatch tek açılım 206x349
27.028,18 TL
SEPETE EKLE
MANSHİP
Düşük profilli hatch sağ/sol açılım 495x495
59.938,16 TL
SEPETE EKLE
MANSHİP
Düşük profilli hatch tek açılım 788x788
84.800,78 TL
SEPETE EKLE
MANSHİP
Düşük profilli hatch tek açılım 495x495
52.504,40 TL
SEPETE EKLE
MANSHİP
Düşük profilli hatch tek açılım 419x419
44.240,97 TL
SEPETE EKLE
MANSHİP
Düşük profilli hatch tek açılım 369x495
46.225,53 TL
SEPETE EKLE
MANSHİP
Düşük profilli hatch tek açılım 318x444
41.967,58 TL
SEPETE EKLE
MANSHİP
Düşük profilli hatch tek açılım 254x254
32.296,38 TL
SEPETE EKLE
MANSHİP
Düşük profilli hatch tek açılım 206x349
32.296,38 TL
SEPETE EKLE
MANSHİP
Dörtgen modern hatch çift açılım 495x495
35.376,06 TL
SEPETE EKLE
MANSHİP
D modern hatch 788mm
89.600,44 TL
SEPETE EKLE
MANSHİP
D modern hatch 610mm
66.974,83 TL
SEPETE EKLE
MANSHİP
D modern hatch 495mm
58.422,57 TL
SEPETE EKLE
MANSHİP
D modern hatch 419mm
49.364,96 TL
SEPETE EKLE
MANSHİP
Yuvarlak modern hatch 788mm
101.616,91 TL
SEPETE EKLE
MANSHİP
Yuvarlak modern hatch 610mm
73.181,39 TL
SEPETE EKLE
MANSHİP
Yuvarlak modern hatch 419mm
52.143,69 TL
SEPETE EKLE
Vetus Gömme Hatch
45.955,87 TL
SEPETE EKLE
OCEANAIR
RSSD-685/630-R42-W-SLR-W GÖMMER PERDE SİSTEMİ
41.562,32 TL
SEPETE EKLE
1
2
3
4
5
IdeaSoft
®
|
E-Ticaret paketleri
ile hazırlanmıştır.